【LPAの会コラム】意外と知らない振替加算
2023.11.15
65歳からもらえる振替加算のしくみを知ろう!
誰がもらえるの?
対象は昭和41年4月1日以前の生まれ*で、加給年金となっている方です。
振替加算とは、老齢厚生年金の加給年金額の対象となっている配偶者が、65歳になって自分自身の老齢基礎年金を受けられるようになった時に付く加算です。老齢厚生年金をもらっている夫(妻)の加給年金は打ち切りになる代わりに、妻(夫)が受ける老齢基礎年金に振替加算が付きます。
また、妻(夫)が65歳で老齢基礎年金の受給権が発生した場合は、夫(妻)が加給年金額の対象者でなくても、一定の要件を満たしている場合に妻(夫)自身の老齢基礎年金の金額に加算されます。

*対象者
- 大正15年4月2日から昭和41年4月1日までの期間に生まれていること。
- 妻(夫)が老齢基礎年金の他に老齢厚生年金や退職共済年金を受けている場合は、厚生年金保険および共済組合等の加入期間を併せて240月未満であること。
- 妻(夫)の共済組合等の加入期間を除いた厚生年金保険の35歳以降の(夫は40歳以降の)加入期間が、次の表未満であること

なぜ、振替加算のしくみができたの?
振替加算が受けられる対象は、昭和41年4月1日以前に生まれた方です。
昭和61年に年金制度が改正され基礎年金制度が始まったため、それまで任意加入だったサラリーマンの妻(夫)も強制加入(第三号被保険者)となりました。しかし、昭和61年4月1日以前に生まれた方は、国民年金の満額支給要件である20歳から60歳までの40年間の加入期間が得られません。そのため、60歳から受け取る老齢基礎年金の額が少なくなるので、それを防ぐためにできた仕組みが振替加算です。
*昭和41年4月2日以降に生まれた方は、昭和61年4月1日以降に20歳になるので40年間の加入期間を満たすことができます。そのため振替加算は支給されません。
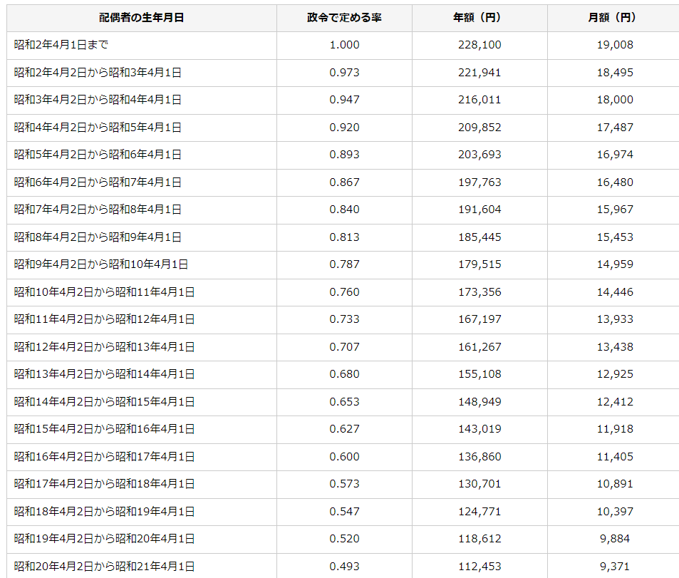
いくらもらえるの?
生まれた年でもらえる金額は次の表のように決まっています。


受け取り方は?
基本的には、振替加算を受けるための手続きは必要ありません。年金を請求する際の裁定請求書に、「配偶者の年金証書の基礎年金番号・年金コード、配偶者の氏名および生年月日」(配偶者が年金の受給権を有していない場合は『配偶者の基礎年金番号、氏名および生年月日』)を記入することによって受け取れます。
妻(夫)が65歳になった後に、夫(妻)が厚生年金保険の加入期間が240月(中高齢の特例に該当する場合を含む)を満たした老齢(退職)年金を受けられるようになった場合等は、振替加算を受けるために「国民年金老齢基礎年金額加算開始事由該当届」の提出が必要です。
老齢基礎年金を繰り下げたときは?
老齢基礎年金を繰り下げると繰り下げている期間は支給されません。老齢基礎年金を受給し、老齢厚生年金だけ繰り下げた場合は支給されます。
加給年金に比べれば、振替加算で受けとれる金額はわずかですが、妻(夫)自身の年金に上乗せできるところが良い点ですね。
↓詳細をご覧になられる方は下記をクリックしてください。 日本年金機構ホームページ へ移動します。
